Canon ar fi descoperit solutia care sa creasca calitatea fotografiilor spre margini
De foarte multa vreme se cauta o solutie ca lentilele plate ale aparatelor foto sa poata capta mai multa lumina si detalii spre marginile fotografiilor. Aceasta deoarece este cunoscut faptul ca lumina se deplaseaza in linie dreapta, astfel ca cu cat ne indepartam mai mult de centrul imaginii, cu atat sunt mai abrupte unghiurile la care se reflecta lumina din lentile si astfel scade calitatea captata spre margini.
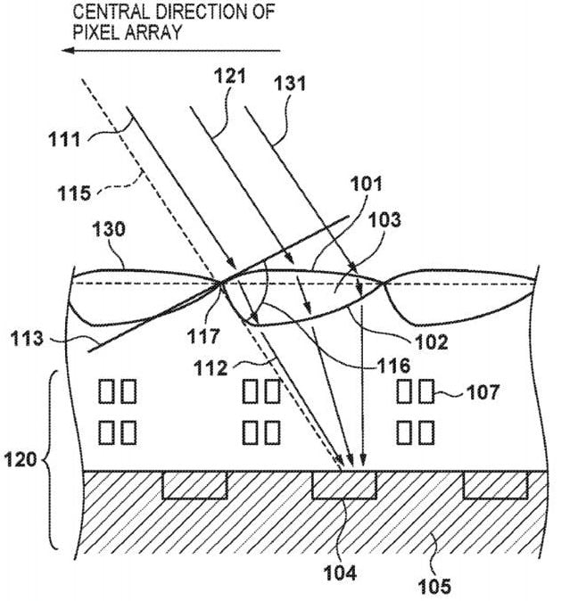
Canon a anuntat ca a inregistrat un brevet de inventie care va aduce pe piata senzori ce vor putea rezolva aceasta problema si, conform companiei, nu e vorba de senzori curbati, ci o alta metoda exemplificata in schita de mai jos.
In aceasta schita, Canon ne arata ca planuieste sa utilizeze o serie de micro lentile convexe spre margini, pentru a directiona mult mai eficient lumina catre foto diode. Astfel, senzorii sai vor capta mai mult detaliu, deoarece aceste micro lentile speciale vor avea capabilitatea de a curba si directiona lumina in asa fel incat unghiul sa fie cat mai mic in momentul in care se ciocneste cu foto diodele.
Daca aceasta noua tehnologie pe care Canon o dezvolta in acest moment va functiona asa cum promite, ar fi un lucru extraordinar pentru lumea fotografiei.



O idee foarte bună
Buna ideea dar pana la practica mai e…