SmartphonesStiriVideos

Apple iPhone 6 cu ecran flexibil si tehnologie 3D [Concept design]

concept-iphone-6

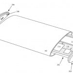
La sfarsitul lunii trecute, Apple a depus la comisia de brevetare a inventiilor, din Statele Unite, un proiect care arata un terminal (posibil iPhone 6) cu ecran flexibil ce ruleaza sistemul de operare iOS. Imaginile care reprezinta acest proiect au fost data publicitatii demonstrand un dispozitiv cu un ecran flexibil infasurat (tub de sticla) in jurul sau, indicand catre un smartphone cu tehnologie 3D.

Este stiut faptul ca, de la disparitia marelui vizionar Steve Jobs, Apple s-a concetrat mai mult pe „carpitul” produselor deja lansate si mai putin pe inovatie.

Intr-un interviu acordat recent de Steve Wozniak (co-fondatorul companiei Apple), acesta spunea ca: „chiar daca pretul actiunilor companiei Apple au fost cotate pentru prima data in ultimele 16 luni de zile, la cea mai mica valoare pe bursa, sunt increzator ca Apple ne va soca si surprinde placut in acelasi timp, cu noile sale produse.”

Probabil ca Steve, supranumit „Woz,” a avut ocazia sa arunce o privire peste produsele, pe care Apple urmeaza sa le lanseze pana la finele acestui an.

Luand ca exemplu patentul depus de Apple la comisia de brevetare din SUA, un designer a construit un concept design pentru telefonul nelansat iPhone 6, care trebuie sa recunosc ca, parca e rupt dintr-un film science-fiction.

Credeti ca Apple ar putea lansa un astfel de smartphone in acest an?

httpvh://youtu.be/afT3jKayqtY

sursa

Lasă un răspuns

Adresa ta de email nu va fi publicată. Câmpurile obligatorii sunt marcate cu *

Back to top button

Adblock Detected

Dacă îți place site-ul nostru te rugăm să-l adaugi în Whitelist-ul AdBlock. Mulțumim!